1、微波雙線的PCB形式
微帶線是由微波雙線在特定條件下的具體應用。圖1-a. 即為微波雙線及其場分布示意圖。在微波級工作頻率的
PCB基板上,可以構成常規的異面平行雙線(圖1-b.所示)或變異的異面平行雙線(圖1-c.所示)。當其中一條狀線與另一條狀線相比可等效為無窮大時,便構成典型的微帶線(如圖1-d.所示)。從雙傳輸線到微帶,僅邊緣特性改變,定性特征基本一致。
注:在許多微波專業論述中,均僅僅描述由常規均勻圓柱形導體構成的雙傳輸線,對PCB電路的雙線描述則以矩形條狀線為常規雙傳輸線。

2、微帶線的雙線特征
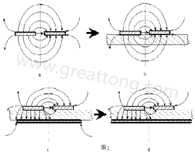
圖2-a.為常規微波雙線的場分布示意圖。圖2-b.為PCB條狀線場分布示意圖。圖2-c.為帶有有限接地板的微波雙線場分布示意(注:圖中雙線之一和接地板連通)。圖2-d為具有相對無窮大接地板之雙線場分布示意(注:圖中雙線之一和接地板連通)。
圖3-a.為典型偶模激勵耦合微帶線場分布示意。圖3-b. 為典型奇模激勵耦合微帶線場分布示意。
從圖1、圖2、圖3所示場分布狀態看,雙線與微帶線(包括耦合微帶線)特性僅僅為邊緣特性的不同。

深圳宏力捷推薦服務:PCB設計打樣 | PCB抄板打樣 | PCB打樣&批量生產 | PCBA代工代料
